323交易平台
323交易平台
×
注册认证
Toggle menu
注册认证教程
个人认证教程
企业认证教程
采购商相关
采购申请、采购合同签署教程
采购下单教程
对账单确认签署教程
签署密码设置教程
签署手机设置教程
线下转账教程
账单延期申请教程
供应商相关
订单退货教程
商品调价教程
新增商品、编辑商品教程
文员区域分配教程
新增员工帐号教程
生成退货单
丽保金票
金票额度申请教程
金票支付使用教程
注册认证
Toggle menu
注册认证教程
个人认证教程
企业认证教程
采购商相关
采购申请、采购合同签署教程
采购下单教程
对账单确认签署教程
签署密码设置教程
签署手机设置教程
线下转账教程
账单延期申请教程
供应商相关
订单退货教程
商品调价教程
新增商品、编辑商品教程
文员区域分配教程
新增员工帐号教程
生成退货单
丽保金票
金票额度申请教程
金票支付使用教程
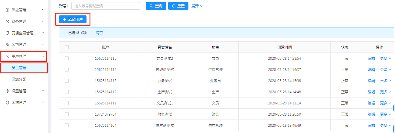
新增员工帐号教程
第一步
点击左边菜单栏--点击用户管理-点击-员工管理--点击添加用户。
第二步
填写相关员工信息,点击提交即可新增员工